Circumcizia este o procedură medicală sau rituală care implică îndepărtarea parțială sau totală a prepuțului, țesutul care acoperă vârful penisului.
Fimoza reprezintă o îngustare a orificiului preputial, ceea ce face dificilă sau imposibilă retragerea completă a prepuțului la baza glandului penisului. Această condiție este normală (fiziologică) la nou-născutul băiat, și în timp, pielea care aderă de vârful penisului se poate retrage pe măsură ce prepuțul se lărgește. De asemenea, fimoza poate să apară atunci când se forțează decalotarea, înainte ca prepuțul să fie pregătit, cu apariția unei cicatrici fibroase care va preveni și mai mult retracția prepuțului. La o parte din copii afecțiunea se rezolvă mai mult sau mai puțin spontan; la alta parte este necesară o intervenție chirurgicală.
Fimoza cicatricială survine în urma repetatelor pusee de balanită și balanopostită (inflamații ale glandului penisului), survenite pe fondul unei fimoze congenitale sau după liza sinechiilor balano-preputiale efectuată abuziv la vârste mici. Problema poate să apară și în urma unei infecții cu lichen scleros, care provoacă inclusiv apariția unor pete albe la nivelul penisului. Însă, cea mai frecventă cauză a fimozei la copii este decalotarea forțată, care poate afecta pielea, producând cicatrizarea.
Parafimoza la copii este o altă formă de fimoza des întâlnită, care apare atunci când prepuțul este retractat și nu mai poate fi repozitionat pentru a acoperi glandul. Penisul se umflă datorită imposibilității reîntoarcerii venoase și crește presiunea la nivelul tegumentului, iar în final se blochează aportul sanguin la penis, ceea ce poate duce la distrugerea țesutului penian.
Tratamentul Fimozei la Copii
Există mai multe metode de tratament, în funcție de cauza și de gravitatea afecțiunii. Tratamentul local presupune aplicarea pe preput a unor creme cu steroizi.
La clinica Cosmedica, unele cazuri de fimoza congenitală în cazul copiilor pot fi rezolvate nechirurgical, printr-o procedură de dilatare a preputului. De obicei, în cazul copiilor încercăm să educăm părinții să înțeleagă că această afecțiune poate fi tratată doar prin dezlipirea aderențelor între gland și preput, astfel încât nu este necesară circumcizia. În cazurile în care după dilatare se observă un inel îngust fibros la nivelul preputului, care face decalotarea foarte grea și cu dureri, recomandarea noastră este operația de circumcizie.
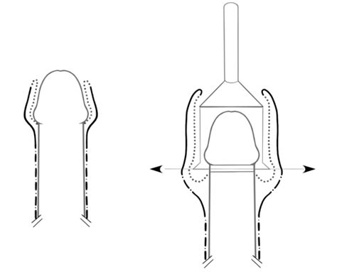
Strategia este de a înlătura porțiunea de piele în care fibrele elastice sunt retractate, fibrotice și nu permit expansiunea pielii peste gland. În cazul unei îngustări ale preputului, orice încercare de a întinde fibrele elastice care sunt retractate și insuficient expandate va produce o ruptură internă a acestora.
Candidatii ideali pentru rezolvarea fimozei sunt copiii de peste 2 ani, fără semne de balanită sau balanopostită, fără semne de rinofaringită sau viroză acută sau alte boli acute sau cronice decompensate.
Indicatiile înainte de interventie presupun ca parintii sa faca o dezinfectie a preputului cu un antiseptic local (Betadina, Clorhexidina etc.), pentru a pregati zona, prevenind astfel riscul unei infectii.
Anestezia pentru procedura de dilatare sau circumcizie este de tip sedare superficială sau profundă, pentru a oferi un confort maxim pentru pacient.
Atât tehnica nechirurgicală cât și cea chirurgicală (atunci când se impune) se efectuează sub o ușoară sedare, pacientul putând fi externat la o oră după încheierea procedurii.

Circumcizia: Istoric și Semnificație
Operația de circumcizie pentru fimoza este considerată cea mai veche operație descrisă folosită în lume. Popoarele de religie mozaică și origine musulmană consideră această operație sacră și o leagă chiar de comuniunea cu divinitatea. Considerăm că apariția acestui ritual ar fi legat în primul rând de igiena precară din trecut, ca urmare a lipsei apei în zonele desertice. Aici, bărbații care aveau o fimoza făceau deseori infecții de tipul balanitelor. Așadar, în acele timpuri, cei responsabili cu tratarea bolnavilor s-au gândit că singura soluție este să înlăture pielea terminală care acoperă glandul (preputul).
Există multe părți pro și contra operației de circumcizie, dar noi considerăm că aspectele pozitive sunt mai numeroase și demne de luat în considerare.
Circumcizia la Diferite Vârste
Circumcizia este solicitată și de către bărbații care nu au fimoza, dar care suferă de tulburări funcționale legate de ejacularea precoce. Desigur, circumcizia este recomandată în special în cazul fimozei la bărbați.
În cazul lor, situația nu este una normală și mai ales încurajatoare, pentru că zona de gland care a stat acoperită de preput mulți ani a depozitat o cantitate considerabilă de smegmă. Majoritatea adulților care se prezintă cu această afecțiune au peste 20 de ani, iar tratamentul este, cu certitudine, circumcizia. Dilatarea la vârste așa mari nu se mai poate efectua cu ușurință, de aceea singura soluție este operația.
Circumcizia la sugari este o procedură chirurgicală în care se îndepărtează total sau parțial prepuțul, adică țesutul care acoperă vârful penisului. Procedura poate fi efectuată sub anestezie locală pentru a minimiza disconfortul și durerea. Există studii care sugerează că circumcizia la sugari poate avea anumume beneficii medicale, precum reducerea riscului de infecții urinare și a unor boli cu transmitere sexuală (BTS). Procedura trebuie efectuată cu consimțământul explicit al părinților.
La fel ca la sugari, circumcizia la băieți reprezintă îndepărtarea parțială sau totală a prepuțului. Această procedură poate fi efectuată la băieți la orice vârstă, dar este adesea realizată în primele zile sau săptămâni după naștere. Riscurile asociate circumciziei la băieți includ sângerare, infecții și reacții adverse la anestezie. Există studii care sugerează că circumcizia la băieți poate oferi anumite beneficii medicale, cum ar fi reducerea riscului de infecții urinare și a unor boli cu transmitere sexuală (BTS). Circumcizia la băieți necesită consimțământul explicit al părinților.
Circumcizia la bărbați, la fel ca la sugari și la băieți, reprezintă îndepărtarea parțială sau totală a prepuțului. Această procedură poate fi efectuată la bărbații de orice vârstă. În unele religii, circumcizia este o practică religioasă obligatorie sau recomandată. Riscurile asociate circumciziei la bărbați includ sângerare, infecții, reacții adverse la anestezie și disconfort postoperator. Circumcizia la bărbați necesită consimțământul explicit al persoanei care va fi supusă procedurii.
Procedura de Circumcizie
Procedura de circumcizie la bărbați adulți poate dura între 30 de minute și o oră și jumătate sau chiar mai mult, în funcție de circumstanțe individuale și de tehnicile chirurgicale utilizate.
Circumcizia este o procedură chirurgicală care implică îndepărtarea prepuțului, pielea care acoperă vârful penisului. În urma circumciziei, glandul penisului este complet expus, ceea ce permite îmbunătățirea igienei locale și reduce riscul de infecție urinară.
Intervențiile de circumcizie diferă în funcție de tehnica aplicată sau de vârsta pacientului. De asemenea, operația poate varia în funcție de cât de mult din prepuț este îndepărtat.
Circumcizie parțială - această procedură implică îndepărtarea parțială din prepuț, ceea ce înseamnă că la finalul intervenției rămâne o porțiune de piele care acoperă glandul. În general, decizia de îndepărtare parțială a prepuțului rămâne la latitudinea părinților, care își doresc să păstreze o parte din beneficiile acestuia (preputul are rolul de a proteja mecanic glandul, dar și de stimulare senzorială și sexuală), cu obținerea totodată a avantajelor pe care le implică o circumcizie totală.
Circumcizie totală - această procedură implică îndepărtarea totală a prepuțului, expunând complet glandul penian.
Chiar dacă este cea mai veche operație descrisă în lume, e important ca aceasta să fie realizată de către un medic cu experiență, deoarece sunt unele situații care pot duce la complicații serioase, dacă nu sunt abordate corespunzător.
Pregătirea înainte de intervenție presupune dezinfectarea glandului, a preputului extern și intern și apoi a scrotului și pliurilor inghinale, în cadrul dușurilor cu o soluție antiseptică (Betadina, Clorhexidina etc.), cu 2-3 zile înainte de operație, de 1-2 ori/zi. Această dezinfectie scade riscul unei posibile infecții.
Dacă decalotarea nu se poate efectua, din cauza unei fimoze complete, recomandăm folosirea unui betișor auricular înmuiat în soluție antiseptică și introdus ușor între preput și gland.
Pentru operația de circumcizie recomandăm o combinație între anestezia locală și cea de tip sedare profundă. Anestezia locală se efectuează după ce se instalează starea de sedare superficială, pentru ca pacientul să nu simtă durere sau disconfort de nici un fel. Apoi se continuă cu sedarea profundă, prin care pacientul este relaxat complet.
Operația de circumcizie înseamnă înlăturarea preputului de la zona care acoperă șanțul coronal, până în partea sa terminală. O dată cu aceasta, în cazul pacienților cu fimoza, se va înlătura și zona îngustată și astfel problemele care derivă de la aceasta.
Sunt foarte mulți pacienți care consideră că frenul preputului este responsabil de fimoza și consideră că doar o operație la acest nivel va rezolva problema îngustării pielii, dar nu este așa.
Procedura de circumcizie durează aproximativ 30 minute și necesită la final o sutură cu un fir care poate fi înlăturat după 2-3 săptămâni. Folosim un fir de sutură care se topește de la sine, dar deoarece de cele mai multe ori forțele de tracțiune și expandare a pielii în erecție pot produce rupturi ale pielii, acesta are o resorbție lentă, de 1-2 luni.
Dorim să oferim pacienților noștri confortul maxim, astfel încât spitalizarea va fi de 12-24 de ore, pentru a ne asigura că, în momentul externării, pacientul se poate întoarce acasă.
După operația de circumcizie, învățăm pacientul cum să facă dezinfectiile zilnice locale ale liniei suturii și ce trebuie să urmeze.
Activitatea fizică moderată poate fi reluată după 48 de ore, iar cea intensă după 4-5 zile.
În anumite cazuri, după operația de circumcizie putem recomanda un tratament cu anti-inflamatorii non-steroidiene și un antibiotic cu spectru larg.

Posibile Complicații
Hematom (sângerare în exces), din cauza unei insuficiente hemostaze intraoperatorii sau a unor probleme de sănătate de care suferă pacientul.
Dehiscența suturii: desfacerea parțială, pe zone foarte mici, a suturii. Problema apare dacă pacientul prezintă stări incontrolabile de apariție a erecțiilor.
Cicatrizare defectuoasă: se întâmplă extrem de rar la acest nivel.
Clinici și Specialiști
Clinica de Chirurgie Pediatrică din Spitalul „Grigore Alexandrescu” reprezintă cea mai veche și cea mai mare clinică de acest gen din țara noastră. Este locul unde se tratează cei mai mulți bolnavi cu afecțiuni chirurgicale și cu cele mai grave afecțiuni din sfera chirurgicală pediatrică. Aparatura din dotare este una dintre cele mai moderne, aflându-se într-o permanentă actualizare astfel încât să ofere cele mai bune condiții de tratament pentru pacienții pediatrici. Colectivul cuprinde chirurgi cu foarte mare experiență în ceea ce înseamnă tratamentul afecțiunilor nou-născutului, afecțiunilor oncologice, afecțiunilor urologice și de chirurgie toracică.
Dr. Cătălin Chiriac-Babei - Șef Secție Chirurgie 1. Chirurgia pediatrică acoperă o gamă largă de afecțiuni, în special malformații. Abordarea integrată a îngrijirii pacientului a contribuit la scăderea mortalității și confirmă performanța echipei. Chirurgia minim invazivă permite intervenții cu traumă redusă, recuperare mai rapidă și stres chirurgical mai mic, prin vizualizare amplificată și disecție mai delicată.
Dr. Iancu Gari - Șef Laborator Endoscopie. Efectuăm proceduri de diagnostic și monitorizare pentru boli inflamatorii intestinale și patologie esofago-gastro-duodenală, precum și tratamente endoscopice: extragere corpuri străine, scleroterapie pentru varice, dilatări de stenoze post-caustice sau post-procedurale.
Când copilul tău are nevoie de intervenție chirurgicală, vrei o echipă medicală de încredere. Secția de chirurgie pediatrică din cadrul Spitalului Clinic De Urgență Pentru Copii Grigore Alexandrescu se adresează tratamentului amănunțit al nou-născuților, copiilor și adolescenților cu probleme chirurgicale.
Dr. Laura Bălănescu - Coordonator Centrul de Transplant Hepatic Pediatric. Centrul a realizat primul transplant hepatic pediatric în februarie 2023, marcând o etapă importantă pentru spital și pentru țară, fiind un centru dedicat copiilor. Transplantul înseamnă un parcurs complex, de la pregătirea preoperatorie la intervenție și îngrijirea post-transplant, realizat de o echipă multidisciplinară.
Îngrijirea pacienților este o muncă de echipă ce presupune competențe, cunoștințe și grijă a multor oameni (medici, asistente, infirmiere și îngrijitoare). Pe durata internării avem grijă și de familie. Suntem aici pentru familia dumneavoastră când fiecare secundă contează. În cazul în care copilul dumneavoastră are o urgență, avem chirurgi pediatrici disponibili 24/7.
Chirurgie toracică: Chirurgii noștri tratează malformații ale tubului digestiv superior (ex. atrezie și stenoză de esofag; etc.), malformații ale aparatului respirator (ex.
Chirurgie generală: Tratam afecțiuni ale tubului digestiv (ex.
În cazul pacienților cu vârsta de până la 3 ani spitalizarea este gratuită.
La Clinica Dr. Levy Medical Center, tăierea prepuțului este realizată cu grijă și profesionalism. Fimoza este o afecțiune la care prepuțul nu poate fi retras peste gland, ceea ce poate cauza disconfort și risc de infecții. Astfel, operația de circumcizie este soluția eficientă pentru tratamentul acestei condiții, restabilind funcționalitatea normală și prevenind complicațiile ulterioare.
La Clinica Dr. Levy Medical Center București este disponibil acum un nou mod de a face circumcizie, cu un dispozitiv unic: fără dureri, fără cicatrici, fără sângerare. Procedura este foarte rapidă și este potrivită atât pentru copii cât și pentru bărbați. Rezultatul circumciziei este pe viață, nefiind nevoie apoi, de o altă intervenție. Activitatea sexuală poate fi reluată în aproximativ o lună și astfel se asigură că funcționalitatea normală va fi reîncepută într-un timp foarte scurt! Nu sunt necesare incizii, suturi sau alte metode clasice de efectuare a operației de circumcizie.
Circumcizia este o operație sigură și benefică atât pentru bărbați, cât și pentru copii sau bebeluși.
La Clinica Dr. Levy Medical Center din Timișoara, folosim o metodă modernă de circumcizie, care asigură o operație rapidă, fără durere și cu recuperare imediată. Dacă ești din Timișoara, te așteptăm în clinica noastră din Bd. Liviu Rebreanu nr.
Consultație + circumcizie în aceeași zi la Clinica Dr. La Clinica din Timișoara, oferim posibilitatea de a face consultația și operația de circumcizie, în aceeași zi.
Una dintre cele mai dese întrebări pe care pacienții noștri o adresează, este legată de diferențele dintre circumcizia clasică (cu bisturiu) și circumcizia cu dispozitiv automat. Aceasta este metoda tradițională, utilizată de zeci de ani. Dacă vrei să faci o operație 100% sigură, fără durere și cu o recuperare rapidă, circumcizia cu aparat automat, este soluția ideală. În schimb, dacă preferi o variantă mai tradițională, circumcizia cu bisturiul rămâne o opțiune la îndemână.
Nu, nu doare, fiindcă se realizează cu anestezie locală, astfel încât pacientul nu va simți durere în timpul operației.
Circumcizia poate fi realizată la orice vârstă, dar este mai ușor suportată la bebeluși (în primele săptămâni de viață) și la copii. La adulți, circumcizia este recomandată în caz de fimoză, balanită recurentă sau din motive de igienă sau prevenție.
Ce preț are circumcizia la Clinica Dr. Prețul unei circumcizii realizate cu metoda automată, este de 1600 de euro (cu anestezie locală). Acum poți face circumcizie cu plata în rate!
Citește în ziar, despre circumcizia la Dr. Levy.
La SANADOR ai acces la consultații asigurate de medici empatici și experimentați.
Vino la SANADOR!
Intervenția de circumcizie la bebeluși este efectuată cel mai adesea în primele zile după naștere, mai exact în primele 48 de ore, chiar înainte de externarea acestuia. Procedura poate fi realizată atât de medicul specializat în chirurgie pediatrică, cât și de către medicul urolog.
Pregătirea pentru intervenția de circumcizie la bebeluși implică dezinfectarea penisului, utilizând o soluție antiseptică, urmată de aplicarea unei creme anestezice. Înainte de operația de tăiere a prepuțului, medicul va explica părinților beneficiile și potențialele riscuri ale intervenției.
La copii mai mari și la adulți, intervenția se desfășoară în regim ambulator, cu administrare de anestezie generală sau rahiană. În cazul utilizării anesteziei generale, va fi necesară oprirea consumului de alimente solide sau lichide, cu cel puțin 6-8 ore înainte de intervenție.
Pentru a efectua circumcizie la bebeluși, este necesară așezarea în poziție culcată și imobilizarea ușoară a membrelor copilului, pentru a preveni mișcările bruște în timpul procedurii.
Mai departe, se va separa pielea prepuțului de glandul penian, se va secționa și îndepărta cu bisturiu sau cu foarfece chirurgicale, după aplicarea unei cleme speciale sau a unui inel de plastic, în jurul cărora se va efectua incizia. La finalul intervenției chirurgicale, glandul penian va fi complet expus.
Circumcizia la copii mari sau adulți se desfășoară similar, diferența constând în utilizarea de suturi (cusături) resorbabile la nivelul marginilor secționate ale prepuțului. Aceste suturi vor fi absorbite (se vor dizolva) în aproximativ 10 zile de la intervenție. De asemenea, pentru oprirea sângerărilor și pentru prevenția formării de cicatrice se poate utiliza electrocauterul.
În prezent, în afară de tehnica de circumcizie pe cale clasică, ce presupune utilizarea bisturiului, sunt disponibile tehnicile mai noi, de circumcizie cu laser.
Recuperarea după circumcizie poate dura de la 7 până la 10 zile în cazul bebelușilor. În această perioadă de vindecare, este normal ca penisul să fie ușor tumefiat și să prezinte o culoare roșie, din cauza inflamației. De asemenea, ca parte a procesului normal de vindecare, pot apărea anumite secreții gălbui de la nivelul glandului. În această perioadă, pentru îngrijirea zonei, este recomandată spălarea pielii cu apă ușor călduță și cu săpun.
Procesul de vindecare după circumcizie poate dura mai mult în cazul adulților, în medie până la 2-3 săptămâni iar, în cazuri rare, chiar și până la 6 săptămâni. În această perioadă, este indicată evitarea activităților intense, precum alergatul sau ridicarea de greutăți, cel puțin în primele 4 săptămâni de la intervenție.
Intervenția de circumcizie este o procedură efectuată de rutină și este considerată, în general, sigură. Cele mai frecvente riscuri asociate operației de circumcizie sunt sângerările (motiv pentru care procedura este contraindicată pacienților cu tulburări de coagulare a sângelui) și infecțiile, riscuri prezente în orice intervenție chirurgicală. În situații rare, prepuțul se poate vindeca anormal, cu formarea unor aderențe la nivelul penisului. Intervenția de circumcizie poate fi contraindicată și în situațiile în care copilul se naște cu anumite malformații congenitale. De exemplu, hipospadias este o afecțiune în care orificiul uretral, cel prin care urina se elimină la exterior, este situată anormal, la nivelul feței anterioare a penisului sau la baza acestuia.
SANADOR dispune de tehnologie medicală de ultimă generație, pentru diagnostic avansat și tratament eficient. La SANADOR, pacienții beneficiază de servicii medicale de înaltă performanță, asigurate de medici foarte bine pregătiți, de investigații medicale complete și performante și de un plan terapeutic personalizat.
Atunci când există indicație pentru intervenția de circumcizie, procedura este realizată în cele mai bune condiții de confort și de siguranță. Medicii oferă și recomandări pentru îngrijirea postoperatorie la domiciliu, iar pacienții beneficiază de monitorizare, prin consultații și investigații periodice.
Vino la SANADOR!
Despre Fimoză
Fimoza este imposibilitatea retragerii prepuțului peste glandul penian. Aceasta poate fi:
- Fiziologică - Normală pentru copii, se remediază spontan pe măsură ce aceștia cresc.
- Patologică - La adulți, de obicei rezultatul unor infecții, inflamații sau cicatrizări.
Ca medic, întâlnesc frecvent pacienți care sunt fie îngrijorați de starea copilului lor, fie afectați de complicațiile fimozei ca adulți.
Dacă ai observat simptome care te îngrijorează, nu te panica! Sunt aici să te ghidez și să îți ofer cele mai bune soluții.
Fimoza la Copii și Bebeluși
La naștere, este normal ca prepuțul copilului să nu poată fi retras. De obicei, această situație se rezolvă de la sine până la vârsta de 3-7 ani. Totuși, uneori fimoza poate persista sau poate cauza complicații.
Cum îți poți da seama că trebuie să mergi la medic?
- Copilul are dificultăți la urinare (de exemplu, jetul urinar este subțire sau întrerupt).
- Observi roșeață, umflături sau un miros neplăcut în zona genitală.
- Infecții repetate la nivelul prepuțului sau glandului.
Ce trebuie să faci:
- Nu încerca să forțezi retragerea prepuțului! Aceasta este una dintre cele mai frecvente greșeli care poate duce la cicatrici și complicații.
- Asigură o igienă delicată, folosind doar apă călduță.
- Dacă nu ești sigur/ă că totul este în regulă, cel mai bine este să programezi o consultație.
Pot să te ajut să înțelegi dacă decalotarea la bebeluși este recomandată în cazul copilului tău sau dacă situația necesită doar răbdare. În multe cazuri, decalotarea la bebeluși poate fi un subiect sensibil, dar este important să ai informații corecte și să urmezi recomandările unui specialist.
Știai că? Aproximativ 10% dintre băieți pot avea prepuțul nedezlipit până la adolescență, fără să fie nevoie de tratament.
Simptomele pe care le-ai putea observa includ:
- Durere în timpul actului sexual.
- Dificultăți sau durere la urinare.
- Inflamație sau acumulare de secreții (smegmă).
Ce poate cauza fimoza la adulți?
- Infecții recurente, cum ar fi balanitele.
- Retragerea forțată a prepuțului în copilărie.
- Diabet zaharat sau alte afecțiuni cronice care afectează elasticitatea pielii.
Dacă te confrunți cu aceste simptome, îți recomand să vii la o consultație. Împreună, putem identifica cauza și găsi cea mai bună soluție pentru tine.
Important: Adulții cu fimoză avansată trebuie să consulte un specialist, deoarece netratată, poate duce la parafimoză, o urgență medicală.
Cauze și Factori de Risc
Cauzele fimozei diferă în funcție de vârstă:
- La copii: fimoza este adesea fiziologică.
- La adulți: apare ca urmare a unor factori precum: infecții genitale repetate, igienă deficitară, afecțiuni precum diabetul zaharat.
Fimoza patologică poate fi influențată de:
- Igiena insuficientă: favorizează infecțiile și inflamațiile.
- Traumele: retragerea forțată a prepuțului poate provoca microfisuri și cicatrici.
- Afecțiuni sistemice: diabetul este un factor de risc major.
Simptome și Diagnostic
Dacă ai fimoză, simptomele pot varia de la disconfort minor la complicații serioase. Cele mai frecvente semne includ:
- Roșeață, umflături sau durere în zona genitală.
- Dificultăți la urinare.
- Dureri sau disconfort în timpul actului sexual.
Aceste simptome pot deveni mai grave dacă nu sunt tratate, așa că nu amâna o vizită la medic.
Cum poate fi stabilit diagnosticul de fimoză? Diagnosticul este simplu și îl pot stabili rapid în timpul consultației. De cele mai multe ori, este nevoie doar de o examinare vizuală. Dacă suspectez o cauză subiacentă, pot recomanda:
- Analize pentru infecții bacteriene sau fungice.
- Testarea glicemiei, mai ales dacă suspectez diabet zaharat.
Fimoza vs. Parafimoza
Probabil ai auzit și de parafimoză, dar e important să înțelegi diferența:
- Fimoza este imposibilitatea de a retrage prepuțul peste gland. Este o problemă cronică și poate deveni deranjantă dacă nu este tratată.
- Parafimoza apare atunci când prepuțul este retras, dar nu poate reveni în poziția inițială, strangulând glandul. Aceasta este o urgență medicală și necesită intervenție imediată.
Dacă observi simptome de parafimoză (umflare severă și durere intensă), mergi de urgență la spital sau contactează-mă imediat.
Opțiuni de Tratament
Tratamentul depinde de severitatea afecțiunii:
- Tratament conservator
- Creme cu steroizi: aplicate local pentru a reduce inflamația și a crește elasticitatea.
- Tehnici de întindere: efectuate cu grijă, la recomandarea medicului.
- Tratament chirurgical
- Circumcizia: soluție definitivă pentru cazurile severe.
- Prepuțioplastia: alternativă care păstrează o parte din prepuț.
Notă: Alegerea tratamentului trebuie să fie personalizată și discutată cu medicul specialist.
Îngrijire Postoperatorie și Recuperare
Îngrijirea corectă după circumcizie este esențială pentru a preveni complicațiile. Este important să se mențină zona curată și să se administreze analgezicele prescrise pentru a minimiza disconfortul.
Recuperarea completă durează aproximativ 1-2 săptămâni, iar disconfortul este minim.
Prevenție
Ca să eviți fimoza, îți recomand să:
- Ai grijă de igiena zilnică, folosind apă călduță pentru spălare.
- Eviți să forțezi retragerea prepuțului, mai ales la copii.
- Tratezi prompt orice infecție genitală.
Întrebări Frecvente
Fimoza este dureroasă? Durerea apare în stadii avansate, mai ales în timpul actului sexual sau al urinării.
Circumcizia este singura soluție? Nu. În cazurile ușoare, cremele cu steroizi și întinderea prepuțului pot fi suficiente.
Fimoza poate fi prevenită? Da, prin igienă adecvată și evitarea traumatismelor.
Recuperarea după circumcizie este dificilă? Nu, majoritatea pacienților se recuperează complet în 1-2 săptămâni.
| Tipul procedurii | Cost estimat |
|---|---|
| Circumcizie | 1200 € |
| Circumcizie post injectare produse permanente (kanamicina, silicon etc.) | 1800 € |
Costurile prezentate sunt estimate și pot varia în funcție de specificul și complexitatea fiecărui caz.
Dacă te confrunți cu fimoza sau ai întrebări, te invit să programezi o consultație.
Circumcizia - Avantaje și dezavantaje
Ce Este Circumcizia și Ce Implică Procedura? Circumcizia este o procedură chirurgicală care implică îndepărtarea prepuțului, pielea care acoperă vârful penisului.
Beneficiile și Riscurile Asociate Circumciziei Circumcizia poate avea anumite beneficii, inclusiv reducerea riscului de infecții urinare, reducerea riscului de boli cu transmitere sexuală și prevenirea afecțiunilor precum fimoza.
Îngrijirea Postoperatorie și Recuperarea Îngrijirea corectă după circumcizie este esențială pentru a preveni complicațiile. Este important să se mențină zona curată și să se administreze analgezicele prescrise pentru a minimiza disconfortul.
Alege secțiunea Data ultimei modificări 26 Mai 2025
Fimoza reprezintă o strâmtoare a orificiului preputial, ceea ce face dificilă sau imposibilă retragerea completă a prepuțului la baza glandului penisului. Aceasta condiție este normală (fiziologică) la nou-născutul băiat, și în timp, pielea care aderă de vârful penisului se poate retrage pe măsură ce prepuțul se lărgește. De asemenea, fimoza poate să apară atunci când se forțează decalotarea, înainte ca prepuțul să fie pregătit, cu apariția unei cicatrici fibroase care va preveni și mai mult retracția prepuțului.
Uneori, tratamentul chirurgical presupune efectuarea unei circumcizii - îndepărtarea întregului tegument preputial. Circumcizia se poate face la cerere sau în cazuri selecționate, când alte proceduri nu își găsesc aplicabilitatea.
O alternativă la circumcizie este debridarea dorsală, care corectează fimoza prin practicarea unei incizii longitudinale a preputului la nivelul inelului de fimoza, cu disecarea țesutul fibros și suturarea transversala a plăgii cu fire separate, obținându-se astfel lărgirea orificiului preputial. Față de circumcizie care este mai traumatizantă, această metodă are avantajul că necesită o perioadă mai scurtă de vindecare, este mai puțin dureroasă și nu are consecințe estetice.
Dr. Dan Cristea este medic specialist chirurg pediatru și șeful Secției de Chirurgie Pediatrică din Spitalul Băneasa. Preocupat permanent de pregătirea profesională, Dr. Cristea a urmat cursuri postuniversitare în urologie pediatrică, ureteroscopie diagnostică și terapeutică, chirurgia hipospadiasului și chirurgia laparoscopică pediatrică. În Spitalul Băneasa, Dr. Cristea tratează numeroase afecțiuni urologice la nou-născuți, sugari, copii mici și adolescenți. Ariile de expertiză sunt: chirurgia hipospadiasului primar și a hipospadiasului multiplu operat și eșuat, hernia inghinală și ombilicală, reimplantări ureterale pentru refluxul vezicoureteral, pieloplastia pentru sindromul obstructiv de joncțiune pieloureterală, hidrocel, varicocel, chist de cordon spermatic, testicul necoborât, etc.
I. Care sunt potențialele avantaje ale circumciziei nou-născutului?
- Preputul penisului sunt ușor de menținut curate dacă băiatul este circumcis.
- Problemele legate de igiena precară nu mai apar la cei circumciși.
- Se reduce riscul de a retracta prepuțul.
- Infecțiile urinare sunt rare.
- Circumcizia este o procedură cu risc minim în perioada neonatală.
II. Care sunt riscurile potențiale și dezavantajele circumciziei?
- Riscurile circumciziei sunt: sângerare, injurii asupra penisului, infecții.
- În cazuri rare, complicațiile sau altele pot duce la probleme severe, chiar mortale.
- Inflamația meatului extern (meatita) este mult mai obișnuită la băieții circumciși.
- Majoritatea sugarilor circumciși sunt operați de obicei fără anestezie.
III. Ce putem spune despre anestezia locală?
- Anestezia locală (infiltrarea nervilor de la baza penisului cu anestezice) este o metodă de a reduce durerea.
- Dacă este administrată corect, acest procedeu reduce durerea copilului precum și modificările comportamentale.
- Riscurile asociate anesteziei locale includ sângerare și injuria tegumentului la locul injecției.
IV. Circumcizia cu instrumentul "Gomco" și în anestezia nervului penian dorsal.
Această metodă necesită îndemânări.

tags: #chirurg #pediatru #circumcizie